Наверх
8 800 700 16 93
Звонок по РФ - бесплатный
Отдел продаж

Задвижки стальные СТ 20 в Туапсе

Клиновые задвижки ст. 20 – трубопроводная арматура в исполнении из прокатной или кованой углеродистой стали, разработаны и применяются в условиях умеренного климата по У1 (ГОСТ 15150) на трубопроводах малого условного прохода до 50 мм. Сталь 20 это углеродистый сплав, горячекатаный металлопрокат или кованая сталь с однородной пористостью и высокой ударной стойкостью. Данные свойства металла отлично подходят для изготовления корпусных деталей задвижек ЗКС, работающих под повышенным давлением сред (до 25 МПа). Компактные клиновые задвижки сталь 20 предлагаем к поставке напрямую с завода производителя в ассортименте:

  • ЗКС 31с45нж Ду15 – 40 мм, Ру160 -250 кг/см2;
  • ЗКС 31с77нж Ду15 – 40 мм, Ру160 кг/см2.

Выбирайте по присоединению — задвижки ст.20 фланцевые полнокомплектные под монтаж с КОФ, муфтовые 1.2 – 1.1/2 дюйма и приварные. Продукция соответствует техническим регламентам ТР СТ 010, 012, 032, отгружается напрямую с завода оптовыми партиями и доставляется до терминалов транспортных компаний в Вашем регионе.

Фильтры
Сбросить фильтр
ДУ
Показать ещеСкрыть (17)
РУ
Показать ещеСкрыть (1)
Серия
Показать ещеСкрыть (43)
Тип конструкции
Присоединение
Управление
Исполнение по ГОСТ 15150-69
Материал исполнения (сталь)
31с45нж
31с45нж

Задвижки клиновые стальные РУ160, литая сталь, ДУ40-150 мм.

31с45нж под приварку
31с45нж фланцевый
31с45нж муфтовый
31с77нж
31с77нж

Компактная задвижка клиновая стальная Ру16 - 160; Ду15-40

31с77нж фланцевый
31с77нж муфтовый
31с77нж под приварку

Задвижки ст 20

Клиновые задвижки из стали 20 – трубопроводная арматура обозначения ЗКС в исполнении из углеродистой конструкционной стали, предназначенная для управления потоками сред в жидком и газообразном агрегатном состоянии, выполняет запорную функцию без регулировки потока. Область применения в умеренном климате (У1) на общепромышленных трубопроводах малого диаметра с транспортировкой неагрессивных рабочих сред с давлением от 1,6 до 25 МПа, используются в основном в нефтегазовом секторе промышленности.

Материал исполнения деталей — углеродистая сталь 20, прошедшая обработку прокатом или ковкой металла до однородной пористости, что придаёт металлу повышенную прочность, т.е., приводит металл в прокатную или кованую сталь (поковки), из которой изготавливаются детали компактных задвижек клиновых 31с45нж, ЗКС 31с77нж.

Задвижки сталь 20

Общепромышленное обозначение задвижек ст.20 Условный проход, Ду (мм)

Давление Ру (кг/см2)

Исполнение – сталь 20 Присоединение к трубопроводу
1 ЗКС 31с45нж

15, 20, 25, 32, 40

160, 250 Прокатная

Муфтовое, фланцевое, под приварку

2 ЗКС 31с77нж 160 Кованая

Особенности задвижек ст.20, характеристики:

  • Тип трубопроводной арматуры: ЗКС – задвижка компактная (кованая) стальная высокого давления с ручным управлением, функция запорная без регулировки потока.
  • Изготовление и поставка: ТУ 3741-003-27844275-2014.
  • Условное давление сред (Ру): 16 — 250 кг/см2.
  • Условный проход (Ду) – 15, 20, 25, 32, 40 мм.
  • Исполнение корпусных деталей: конструкционная прокатная или кованая сталь 20.
  • Климатическое исполнение (ГОСТ 15150): У1 (-40°С до +40°С).
  • Рабочие среды: неагрессивные жидкие и газообразные с температурой от – 40 до +425 градусов Цельсия.
  • Герметичность: класс А.
  • Присоединение фланцевое с комплектацией КОФ и метизом, муфтовое ½ - 1 ½, под приварку.

Параметры надёжности:

  • Назначенный срок службы 30 лет;
  • Наработка на отказ 800 циклов;
  • Установленный средний ресурс 3000 циклов;
  • Гарантия 12 месяцев со дня ввода в эксплуатацию;
  • Гарантия консервации (масло к-17) — 24 месяца.

Продукция проходит обязательный выходной контроль на герметичность по классу А, поставляется во все регионы РФ и страны Таможенного Союза.

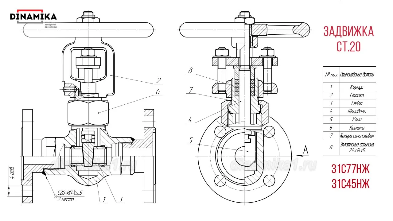
Конструкция задвижки ст.20

Конструкций задвижек из стали 20 два вида — с бугельным сальниковым узлом или внутренним уплотнением выдвижного шпинделя, в остальном они практически не отличаются, являются разборными и пригодными для ремонта, что делает их удобными в сервисном обслуживании. В большей части изготавливают с сальниковой камерой (бугель), чертёж-эскиз которой представлен ниже.

Стальная задвижка 20

Особенности конструкции ЗК ст.20 по эскизу—чертежу:

  • Конструкция малогабаритная и компактная и состоит из корпуса, верхней части – стойки (2) с сальниковой камерой, и корпуса (1), которые стягиваются между собой резьбовой крышкой (6). Материал исполнения деталей сталь 20.
  • Особенность фланцевого исполнения конструкции задвижки ст.20 — фланцы привариваются к корпусу на этапе металлообработки.
  • На выбор три присоединения: резьбовое (муфта), фланцевое, и приварное.
  • Тип задвижки клиновой — с выдвижным шпинделем (4) из стали 20х13; при заказе стоит учитывать большую строительную высоту в открытом состоянии.
  • Бугельный узел — сальниковая камера (7) с уплотнением шпинделя ТРГ (8), что разрешает применение ЗК с высокотемпературными рабочими средами.
  • Проход прямоточный, незначительно размер уменьшен в месте посадочных сёдел (3).
  • Сёдла (3) изготовлены отдельно из высокопрочной нержавеющей стали (20Х13) и установлены в корпус резьбовым методом.
  • Затвор—Клин (5) жёсткого исполнения изготовлен из цельного металлопроката высокопрочной нержавеющей стали 20Х13Л.

Размеры изделий запрашивайте заявкой в отдел продаж, работаем индивидуально по каждой заявке с согласованием чертежа.

Альтернативные исполнения задвижек ст.20:

Алтайский Край
Барнаул
Архангельская Область
Архангельск
Астраханская Область
Астрахань
Башкортостан Республика
НефтекамскСтерлитамакУфа
Белгородская Область
Белгород
Брянская Область
Брянск
Бурятия Республика
Улан-Удэ
Владимирская Область
КовровМуромВладимир
Волгоградская Область
Волгоград
Вологодская Область
ЧереповецВологда
Воронежская Область
Воронеж
Дагестан Республика
Махачкала
Ивановская Область
Иваново
Иркутская Область
Иркутск
Калининградская Область
Калининград
Калмыкия Республика
Элиста
Калужская Область
Калуга
Кемеровская Область
КемеровоНовокузнецк
Кировская Область
Киров
Кировская область
Киров
Коми Республика
Сыктывкар
Костромская Область
Кострома
Красноярский Край
Красноярск
Курганская Область
Курган
Курская Область
Курск
Ленинградская Область
Санкт-Петербург
Липецкая Область
Липецк
Марий Эл Республика
Йошкар-Ола
Мордовия Республика
Саранск
Мурманская Область
Мурманск
Нижегородская Область
АрзамасНижний Новгород
Новгородская Область
Великий Новгород
Новосибирская Область
Новосибирск
Омская Область
Омск
Оренбургская Область
ОренбургОрск
Орловская Область
Орел
Пензенская Область
Пенза
Пермский Край
Пермь
Псковская Область
Псков
Рязанская Область
Рязань
Саратовская Область
Саратов
Смоленская Область
Смоленск
Ставропольский Край
Ставрополь
Тамбовская Область
Тамбов
Тверская Область
Тверь
Томская Область
Томск
Тульская Область
Тула
Тюменская Область
ТобольскТюмень
Удмуртская Республика
Ижевск
Ульяновская Область
ДимитровградУльяновск
Хабаровский Край
Хабаровск
Ханты-Мансийский Автономный округ - Югра Автономный округ
НефтеюганскНижневартовскСургут
Челябинская Область
ЧелябинскМагнитогорскМиасс
Чувашская Республика - Чувашия
Чебоксары
Ямало-Ненецкий Автономный округ
Новый УренгойСалехард
Ярославская Область
ЯрославльРыбинск